請在下面找到聯系方式 并立即與我們聯系! 我們的專家隨時準備為您提供幫助

簡介:
殘疾人升降平臺又稱“無障礙升降平臺”:主要是由軌道和升降平臺板組成的,類似一個簡易的小電梯。軌道是鑲嵌在通道出入口的墻壁上的,隨著樓梯的坡度向下延伸,一直到地道內部。而升降平臺在不使用時可以折疊靠著墻壁放置,這樣不會占用通道出入口處的空間。乘坐輪椅的殘疾人在使用時,輪椅四個輪子可以被固定在臺板上,按動開關后就可以控制升降平臺進入地下通道,安全方便。
可選配置說明:
安全井道:鋁合金玻璃井道 平臺護板:304不銹鋼拉絲板
直流機型:內置蓄電池自動供電系統,保證斷電后機器正常使用 升降高度:可根據客戶需求定制
機箱面板:304不銹鋼拉絲板 門保護裝置:安全門與平臺加裝電子鎖聯動電路
輔助控制:有線輔助控制盒,可安裝在客戶所需要位置與機器電路聯動操作運行。
技術參數:




電源 | 220V/50Hz或110V/60Hz |
提升高度 | 1500mm(標準型) 可根據客戶需要定制,最大可達2000mm提升高度 |
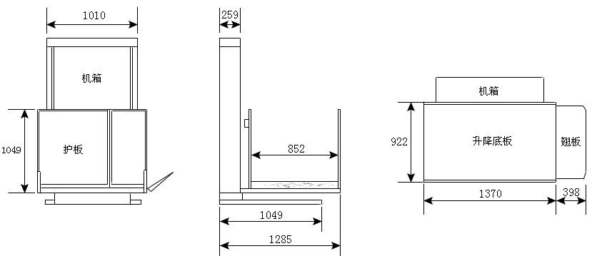
升降底板尺寸 | 1370mm(長度) x 922mm(寬度) |
升降底板最低高度 | 80mm(離地面) |
升降速度 | 40mm/s |
最大載重量 | 300g |
進出方式 | 90°或180° |
護板形式 | 90°或180° 互換配置 |
平臺底板面板 | 花紋防滑金屬板 |
安全翹板工作角度 | 75°(上升翹起) |
自重 | >400kg |
驅動系統 | 機械螺桿同步或液壓動力單元 |
控制電源電壓 | 24V/DC |
電機 | 1.5KW 220V/AC 或 110V/AC |
升降控制 | 翹板自復位開關操作運行 |
過載保護 | 過電流繼電器控制 |
工作環境 | 室內外適用 |
工作溫度 | -20°C — 60°C |
安裝方式 | 無基坑式安裝(直接固定于混凝土地面) |
緊急停止 | 按下緊急按鈕開關,可控制機器運行 ,上升或下降 |
手動操作 | 使用專用工具操作緊急下降 |
安全網 | 升降底板下降時,安全網遇障礙物,立即停止運行 |
我們的服務與支持
.我們感謝您訪問我們的網站!您可以通過此服務支持了解到公司為您精心制訂的服務支持計劃。 如您對我們的服務有任何的意見
或建議,請撥打公司服務電話或郵件方式向我們提出您的建議,為此我們對您表示感謝,并盡力完善我們的服務,力求能
為您做得更好!
.如果您需要產品技術咨詢服務:請撥打0512-65382800專業顧問提供技術咨詢。
.如果您需要技術支持:請撥打 13906130966技術工程師提供免費的技術咨詢服務。
.如果您需要售后服務:請撥打 13906130966我們承諾平均服務響應時間不高于60分鐘。
.如果您有業務需要合作:請撥打0512-65382900由工作人員為您服務。
我們的承諾
.我們所有核心設計與經營理念的基礎就是給用戶提供安全的產品;
.我們兼顧用戶的實用性要求,安全性要求,環保低碳性要求;
.我們的穩步發展和用戶口碑也源于我們的安全承諾;
.我們致力于為您提供更完善的解決方案。

您可以通過以下方式和我們取得聯系
真誠的歡迎您來我們公司考察和指導!
地 址:蘇州相城區望亭鎮問渡路2742-2號
電 話:0512-65382800 65382900
手 機:13906130966
聯系人:董先生
郵 編:215155
網 址:http://m.xanlfc.com.cn
地址:常州市天寧區博愛路76號
電話:0519-88102111 0519-81296800
傳真:0519-81295800
手機:13915057000
網址:www.czbeipu.com
門店地址:常州美吉特五金市場9幢112-113號
公司主要產品系列包括固定式登車橋,鋁合金升降臺,導軌式提升機,液壓升降作業平臺,固定導軌式升降機,導軌式升降作業平臺等,歡迎咨詢訂購.